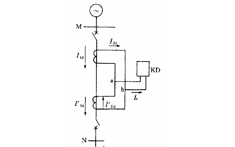
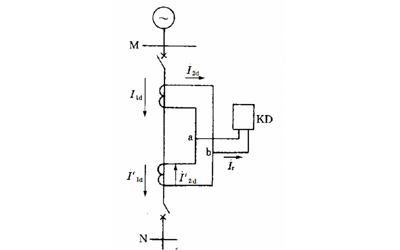
发电机的主要继电保护都有啥?
2023-04-26 科威
电力变压器的保护配置知识分享
2023-04-20 科威
直流输电换流站知识分享
2023-04-17 科威
电气倒闸操作知识分享
2023-04-11 科威
直流系统接地的处理方法知识分享
2023-04-03 科威
电力变压器的保护配置
2023-03-27 科威
变压器带负荷测试题目知识分享
2023-03-06 科威
电力系统常见微机消谐装置方案介绍
2023-03-03 科威