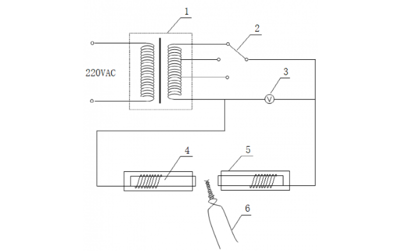
一种贵金属热电偶焊接装置
2023-02-06 科威
热电偶、电阻保护套泄露处理办法
2022-12-09 科威
电厂循环流化床锅炉炉膛温度计的使用浅析
2022-12-06 科威
热电偶工作原理及故障处理思路
2022-11-23 科威
自控仪表接地知识分享
2022-10-24 科威
温度仪表的结构和原理图解分享
北京科威-温控仪表故障处理分享
2022-09-03 科威
KS-BJ系列热电偶补偿导线详解
2022-08-22 科威